Лариса Леонидовна Зиновьева,
инженер (г. Дубна)
«Наука и жизнь» №4, 2007
Пятнадцатого марта нынешнего года исполнилось 50 лет с момента пуска знаменитого синхрофазотрона в подмосковном городе Дубна. Статья, написанная на основе архивных и опубликованных документов, рассказывает о непростой истории его создания.

В 1957 году Советский Союз осуществил революционный научный прорыв сразу в двух направлениях: в октябре был запущен первый искусственный спутник Земли, а за несколько месяцев до этого, в марте, в Дубне начал работать легендарный синхрофазотрон — гигантская установка для исследования микромира. Эти два события потрясли весь мир, и слова «спутник» и «синхрофазотрон» прочно вошли в нашу жизнь.
Синхрофазотрон представляет собой один из видов ускорителей заряженных частиц. Частицы в них разгоняют до больших скоростей и, следовательно, до высоких энергий. По результату их соударений с другими атомными частицами судят о строении и свойствах материи. Вероятность соударений определяется интенсивностью ускоренного пучка частиц, то есть количеством частиц в нем, поэтому интенсивность наряду с энергией — важный параметр ускорителя.

Ускорители достигают огромных размеров, и неслучайно писатель Владимир Карцев назвал их пирамидами ядерного века, по которым потомки будут судить об уровне нашей техники.
До постройки ускорителей единственным источником частиц высоких энергий были космические лучи. В основном это протоны с энергией порядка нескольких ГэВ, свободно приходящие из космоса, и вторичные частицы, возникающие при их взаимодействии с атмосферой. Но поток космических лучей хаотичен и имеет малую интенсивность, поэтому со временем для лабораторных исследований стали создавать специальные установки — ускорители с контролируемыми пучками частиц высокой энергии и большей интенсивности.
В основе работы всех ускорителей лежит хорошо известный факт: заряженную частицу разгоняет электрическое поле. Однако получить частицы очень большой энергии, ускоряя их лишь один раз между двумя электродами, нельзя, так как для этого пришлось бы приложить к ним огромное напряжение, что технически невозможно. Поэтому частицы больших энергий получают, многократно пропуская их между электродами.
Ускорители, в которых частица проходит через последовательно расположенные ускоряющие промежутки, называются линейными. С них началось развитие ускорителей, но требование к увеличению энергии частиц вело к практически нереально большим длинам установок.

В 1929 году американский ученый Э. Лоуренс предложил конструкцию ускорителя, в котором частица движется по спирали, проходя многократно один и тот же промежуток между двумя электродами. Траекторию частицы искривляет и закручивает однородное магнитное поле, направленное перпендикулярно плоскости орбиты. Ускоритель был назван циклотроном. В 1930-1931 годах Лоуренс с сотрудниками соорудил в Калифорнийском университете (США) первый циклотрон. За это изобретение он в 1939 году был удостоен Нобелевской премии.
В циклотроне однородное магнитное поле создает большой электромагнит, а электрическое поле возникает между двумя полыми электродами D-образной формы (отсюда их название — «дуанты»). К электродам приложено переменное напряжение, которое меняет полярность всякий раз, когда частица делает пол-оборота. Благодаря этому электрическое поле всегда ускоряет частицы. Эту идею нельзя было бы осуществить, если бы частицы с разными энергиями имели разные периоды обращения. Но, к счастью, хотя скорость с ростом энергии растет, период обращения остается постоянным, поскольку диаметр траектории увеличивается в том же отношении. Именно это свойство циклотрона и позволяет использовать для ускорения постоянную частоту электрического поля.
Вскоре циклотроны начали создавать в других исследовательских лабораториях.
О необходимости создания в Советском Союзе серьезной ускорительной базы было заявлено на правительственном уровне в марте 1938 года. Группа исследователей Ленинградского физико-технического института (ЛФТИ) во главе с академиком А.Ф. Иоффе обратилась к председателю СНК СССР В.М. Молотову с письмом, в котором предлагалось создать техническую базу для исследований в области строения атомного ядра. Вопросы строения атомного ядра стали одной из центральных проблем естествознания, а Советский Союз в их решении значительно отставал. Так, если в Америке имелось по крайней мере пять циклотронов, то в Советском Союзе не было ни одного (единственный циклотрон Радиевого института АН (РИАН), пущенный в 1937 году, из-за дефектов проектирования практически не работал). Обращение к Молотову содержало просьбу создать условия для окончания к 1 января 1939 года постройки циклотрона ЛФТИ. Работу по его созданию, начатую в 1937 году, приостановили из-за ведомственных неувязок и прекращения финансирования.
Действительно, в момент написания письма в правительственных кругах страны было явное недопонимание актуальности исследований в области атомной физики. По воспоминаниям М.Г. Мещерякова, в 1938 году даже встал вопрос о ликвидации Радиевого института, который, по чьему-то мнению, занимался никому не нужными исследованиями урана и тория, в то время как страна стремилась увеличить добычу угля и выплавку стали.
Письмо к Молотову возымело действие, и уже в июне 1938 года комиссия от Академии наук СССР, которую возглавил П.Л. Капица, по запросу правительства дала заключение о необходимости строить циклотрон ЛФТИ на 10–20 МэВ, в зависимости от типа ускоряемых частиц, и совершенствовать циклотрон РИАНа.
В ноябре 1938 года С.И. Вавилов в обращении в президиум АН предложил строить циклотрон ЛФТИ в Москве и перевести в состав Физического института АН (ФИАН) из ЛФТИ лабораторию И.В. Курчатова, которая занималась его созданием. Сергей Иванович хотел, чтобы центральная лаборатория по изучению атомного ядра располагалась там же, где находилась Академия наук, то есть в Москве. Однако его не поддержали в ЛФТИ. Споры закончились в конце 1939 года, когда А.Ф. Иоффе предложил создать сразу три циклотрона. 30 июля 1940 года на заседании президиума АН СССР было решено поручить РИАНу в текущем году дооборудовать действующий циклотрон, ФИАНу — к 15 октября подготовить необходимые материалы по строительству нового мощного циклотрона, а ЛФТИ — окончить строительство циклотрона в первом квартале 1941 года.
В связи с этим решением в ФИАНе создали так называемую циклотронную бригаду, в которую вошли Владимир Иосифович Векслер, Сергей Николаевич Вернов, Павел Алексеевич Черенков, Леонид Васильевич Грошев и Евгений Львович Фейнберг. 26 сентября 1940 года бюро Отделения физико-математических наук (ОФМН) заслушало информацию В.И. Векслера о проектном задании на циклотрон, одобрило его основные характеристики и смету на строительство. Циклотрон был рассчитан на ускорение дейтронов до энергии 50 МэВ. ФИАН планировал начать его строительство в 1941 году и пустить в 1943-м. Намеченные планы нарушила война.
Острая необходимость в создании атомной бомбы заставила Советский Союз мобилизовать усилия в исследовании микромира. Один за другим построили два циклотрона в Лаборатории № 2 в Москве (1944, 1946 годы); в Ленинграде после снятия блокады восстановили циклотроны РИАН и ЛФТИ (1946 год).
Проект фиановского циклотрона хотя и был утвержден перед войной, но стало ясно, что конструкция Лоуренса исчерпала себя, так как энергия ускоренных протонов не могла превысить 20 МэВ. Именно с этой энергии начинает сказываться эффект увеличения массы частицы при скоростях, соизмеримых со скоростью света, который следует из теории относительности Эйнштейна:
,
где m0 — масса покоя частицы; v — ее cкорость; с — скорость света.
Вследствие роста массы нарушается резонанс между прохождением частицы через ускоряющий промежуток и соответствующей фазой электрического поля, что влечет за собой торможение.
Следует заметить, что циклотрон предназначен для ускорения только тяжелых частиц (протонов, ионов). Это связано с тем, что из-за слишком малой массы покоя электрон уже при энергиях 1–3 МэВ достигает скорости, близкой к скорости света, вследствие чего его масса заметно возрастает и частица быстро выходит из резонанса.
Первым циклическим ускорителем электронов стал бетатрон, построенный Керстом в 1940 году по идее Видероэ. В основе бетатрона лежит закон Фарадея, согласно которому при изменении магнитного потока, пронизывающего замкнутый контур, в этом контуре возникает электродвижущая сила. В бетатроне замкнутым контуром служит поток частиц, движущихся по кольцевой орбите в вакуумной камере постоянного радиуса в постепенно нарастающем магнитном поле. Когда магнитный поток внутри орбиты возрастает, возникает электродвижущая сила, тангенциальная составляющая которой ускоряет электроны. В бетатроне, подобно циклотрону, существует ограничение для получения частиц очень высокой энергии. Это связано с тем, что, согласно законам электродинамики, движущиеся по круговым орбитам электроны излучают электромагнитные волны, которые при релятивистских скоростях уносят очень много энергии. Для компенсации этих потерь требуется значительно увеличивать размер сердечника магнита, что имеет практический предел.
Таким образом, к началу 1940-х годов возможности получения более высокой энергии как протонов, так и электронов были исчерпаны. Для дальнейших же исследований микромира требовалось увеличить энергию ускоренных частиц, поэтому остро встала задача поиска новых методов ускорения.
В феврале 1944 года В.И. Векслер выдвинул революционную идею, как преодолеть энергетический барьер циклотрона и бетатрона. Она была настолько проста, что казалось странным, почему к ней не пришли раньше. Идея состояла в том, что при резонансном ускорении частоты обращения частиц и ускоряющего поля должны постоянно совпадать, иными словами, быть синхронными. При ускорении тяжелых релятивистских частиц в циклотроне для синхронизации предлагалось изменять частоту ускоряющего электрического поля по определенному закону (в дальнейшем такой ускоритель получил название синхроциклотрона).
Для ускорения релятивистских электронов был предложен ускоритель, получивший в дальнейшем название синхротрона. В нем ускорение осуществляется переменным электрическим полем постоянной частоты, а синхронизм обеспечивается изменяющимся по определенному закону магнитным полем, которое удерживает частицы на орбите постоянного радиуса.

Для практических целей требовалось теоретически удостовериться, что предложенные процессы ускорения устойчивы, то есть при незначительных отклонениях от резонанса фазировка частиц осуществится автоматически. Физик-теоретик циклотронной бригады Е.Л. Фейнберг обратил на это внимание Векслера и сам же строго математически доказал устойчивость процессов. Именно поэтому идея Векслера получила название «принцип автофазировки».
Для обсуждения полученного решения в ФИАНе провели семинар, на котором Векслер сделал вводный доклад, а Фейнберг — доклад об устойчивости. Работу одобрили, и в том же 1944 году журнал «Доклады Академии наук СССР» опубликовал две статьи, в которых рассматривались новые способы ускорения (в первой статье речь шла об ускорителе на основе кратных частот, впоследствии названном микротроном). Их автором значился только Векслер, а имя Фейнберга вообще не упоминалось. Очень скоро роль Фейнберга в открытии принципа автофазировки была незаслуженно предана полному забвению.
Спустя год принцип автофазировки независимо открыл американский физик Э. МакМиллан, однако приоритет сохранился за Векслером.
Следует заметить, что в ускорителях, основанных на новом принципе, в явном виде проявилось «правило рычага» — выигрыш в энергии повлек проигрыш в интенсивности пучка ускоренных частиц, что связано с цикличностью их ускорения в отличие от плавного ускорения в циклотронах и бетатронах. На этот неприятный момент сразу указали на сессии Отделения физико-математических наук 20 февраля 1945 года, однако тогда же все единодушно пришли к выводу, что данное обстоятельство ни в коем случае не должно препятствовать реализации проекта. Хотя, к слову сказать, борьба за интенсивность впоследствии постоянно досаждала «ускорительщикам».
На той же сессии по предложению президента Академии наук СССР С.И. Вавилова было принято решение незамедлительно строить ускорители двух типов, предложенные Векслером. 19 февраля 1946 года Специальный комитет при Совнаркоме СССР поручил соответствующей комиссии разработать их проекты с указанием мощности, сроков изготовления и места строительства. (От создания циклотрона в ФИАНе отказались.)
В результате 13 августа 1946 года одновременно вышло два постановления Совета министров СССР, подписанные председателем Совета министров СССР И.В. Сталиным и управляющим делами Совета министров СССР Я.Е. Чадаевым, по созданию синхроциклотрона на энергию дейтронов 250 МэВ и синхротрона на энергию 1 ГэВ. Энергия ускорителей диктовалась в первую очередь политическим противостоянием США и СССР. В США уже создали синхроциклотрон на энергию дейтронов порядка 190 МэВ и начали строить синхротрон на энергию 250–300 МэВ. Отечественные ускорители по энергии должны были превосходить американские.
С синхроциклотроном связывали надежды на открытие новых элементов, новых способов получения атомной энергии из более дешевых, чем уран, источников. С помощью синхротрона намеревались искусственным путем получать мезоны, которые, как предполагали советские физики в то время, способны вызывать расщепление ядер.
Оба постановления вышли с грифом «Совершенно секретно (особая папка)», так как строительство ускорителей шло в рамках проекта создания атомной бомбы. С их помощью рассчитывали получить точную теорию ядерных сил, необходимую для расчетов бомбы, которые в то время производили лишь с помощью большого набора приближенных моделей. Правда, всё оказалось не так просто, как думалось поначалу, и следует заметить, что такая теория не создана и до сих пор.
Постановления определили места строительства ускорителей: синхротрона — в Москве, на Калужском шоссе (ныне Ленинский проспект), на территории ФИАНа; синхроциклотрона — в районе Иваньковской ГЭС, в 125 километрах к северу от Москвы (в то время Калининская область). Первоначально создание обоих ускорителей поручили ФИАНу. Руководителем работ по синхротрону был назначен В.И. Векслер, а по синхроциклотрону — Д.В. Скобельцын.
Через полгода руководитель атомного проекта И.В. Курчатов, недовольный ходом работ по фиановскому синхроциклотрону, перевел эту тему в свою Лабораторию № 2. Новым руководителем темы он назначил М.Г. Мещерякова, освободив от работы в ленинградском Радиевом институте. Под руководством Мещерякова в Лаборатории № 2 создали модель синхроциклотрона, которая уже экспериментально подтвердила правильность принципа автофазировки. В 1947 году началось строительство ускорителя в Калининской области.
14 декабря 1949 года под руководством М.Г. Мещерякова синхроциклотрон был успешно пущен в намеченный срок и стал первым в Советском Союзе ускорителем такого типа, перекрыв энергию созданного в 1946 году аналогичного ускорителя в Беркли (США). Он оставался рекордным вплоть до 1953 года.
Первоначально лаборатория, основанная на базе синхроциклотрона, в целях секретности называлась Гидротехнической лабораторией АН СССР (ГТЛ) и была филиалом Лаборатории № 2. В 1953 году ее преобразовали в самостоятельный Институт ядерных проблем АН СССР (ИЯП), который возглавил М.Г. Мещеряков.

Создание синхротрона по ряду причин не удалось осуществить. Во-первых, из-за непредвиденных трудностей пришлось построить два синхротрона на меньшие энергии — 30 и 250 МэВ. Их расположили на территории ФИАНа, а синхротрон на 1 ГэВ решили строить за пределами Москвы. В июне 1948 года ему выделили место в нескольких километрах от уже строящегося синхроциклотрона в Калининской области, но и там его так и не построили, так как предпочтение было отдано ускорителю, предложенному академиком Украинской академии наук Александром Ильичом Лейпунским. Произошло это следующим образом.
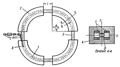
В 1946 году А.И. Лейпунский на основе принципа автофазировки выдвинул идею о возможности создания ускорителя, в котором соединялись особенности синхротрона и синхроциклотрона. Впоследствии Векслер назвал такой тип ускорителя синхрофазотроном. Название становится понятным, если учесть, что синхроциклотрон поначалу называли фазотроном и в соединении с синхротроном получается синхрофазотрон. В нем в результате изменения управляющего магнитного поля частицы движутся по кольцу, как в синхротроне, а ускорение производит высокочастотное электрическое поле, частота которого меняется во времени, как в синхроциклотроне. Это позволяло значительно увеличить энергию ускоряемых протонов по сравнению с синхроциклотроном. В синхрофазотроне протоны предварительно ускоряются в линейном ускорителе — инжекторе. Введенные в основную камеру частицы под действием магнитного поля начинают в ней циркулировать. Такой режим называется бетатронным. Затем включается высокочастотное ускоряющее напряжение на электродах, размещенных в двух диаметрально противоположных прямолинейных промежутках.
Из всех трех типов ускорителей, основанных на принципе автофазировки, синхрофазотрон в техническом отношении наиболее сложен, и тогда многие сомневались в возможности его создания. Но Лейпунский, уверенный, что всё получится, смело взялся за реализацию своей идеи.

В 1947 году в Лаборатории «В» вблизи станции Обнинское (ныне город Обнинск) специальная ускорительная группа под его руководством начала разработку ускорителя. Первыми теоретиками синхрофазотрона стали Ю.А. Крутков, О.Д. Казачковский и Л.Л. Сабсович. В феврале 1948 года прошла закрытая конференция по ускорителям, на которой кроме министров присутствовали А.Л. Минц, известный уже в то время специалист по радиотехнике, и главные инженеры ленинградских заводов «Электросила» и трансформаторного. Все они заявили, что предложенный Лейпунским ускоритель сделать можно. Обнадеживающие первые теоретические результаты и поддержка инженеров ведущих заводов позволили начать работу над конкретным техническим проектом большого ускорителя на энергию протонов 1,3–1,5 ГэВ и развернуть экспериментальные работы, подтвердившие правильность идеи Лейпунского. К декабрю 1948 года технический проект ускорителя был готов, а к марту 1949 года Лейпунский должен был представить эскизный проект синхрофазотрона на 10 ГэВ.
И вдруг в 1949 году, в самый разгар работ, правительство решило передать начатую работу по синхрофазотрону в ФИАН. Зачем? Почему? Ведь ФИАН уже занимается созданием синхротрона на 1 ГэВ! Да в том-то и дело, что оба проекта, и синхрофазотрона на 1,5 ГэВ, и синхротрона на 1 ГэВ, были слишком дорогими, и возник вопрос об их целесообразности. Окончательно его разрешили на одном из специальных заседаний в ФИАНе, где собрались ведущие физики страны. Они сочли ненужным сооружение синхротрона на 1 ГэВ из-за отсутствия большого интереса к ускорению электронов. Главным оппонентом такой позиции выступал М.А. Марков. Основной его аргумент состоял в том, что изучать и протоны, и ядерные силы гораздо эффективнее с помощью уже хорошо изученного электромагнитного взаимодействия. Однако отстоять свою точку зрения ему не удалось, и положительное решение оказалось в пользу проекта Лейпунского.
Рушилась заветная мечта Векслера построить самый крупный ускоритель. Не желая мириться со сложившейся ситуацией, он при поддержке С.И. Вавилова и Д.В. Скобельцына предложил отказаться от сооружения синхрофазотрона на 1,5 ГэВ и приступить к проектированию ускорителя сразу на 10 ГэВ, ранее порученному А.И. Лейпунскому. Правительство приняло это предложение, так как в апреле 1948 года стало известно о проекте синхрофазотрона на 6–7 ГэВ в Калифорнийском университете и хотелось хоть на время оказаться впереди США.
2 мая 1949 года вышло постановление Совета министров СССР о создании синхрофазотрона на энергию 7–10 ГэВ на территории, ранее отведенной для синхротрона. Тему перевели в ФИАН, а ее научно-техническим руководителем назначили В.И. Векслера, хотя дела у Лейпунского шли вполне успешно.
Объяснить это можно, во-первых, тем, что Векслер считался автором принципа автофазировки и, по воспоминаниям современников, к нему очень благоволил Л.П. Берия. Во-вторых, С. И. Вавилов был в то время не только директором ФИАНа, но и президентом АН СССР. Лейпунскому предложили стать заместителем Векслера, но он отказался и в дальнейшем в создании синхрофазотрона не участвовал. По словам заместителя Лейпунского О.Д. Казачковского, «ясно было, что два медведя в одной берлоге не уживутся». Впоследствии А.И. Лейпунский и О.Д. Казачковский стали ведущими специалистами по реакторам и в 1960 году были удостоены Ленинской премии.
В постановлении имелся пункт о переводе на работу в ФИАН сотрудников Лаборатории «В», занимавшихся разработкой ускорителя, с передачей соответствующего оборудования. А передавать было что: работу над ускорителем в Лаборатории «В» к тому моменту довели до стадии модели и обоснования основных решений.
Не все с воодушевлением восприняли перевод в ФИАН, так как с Лейпунским легко и интересно работалось: он был не только прекрасным научным руководителем, но и замечательным человеком. Однако отказаться от перевода было практически невозможно: в то суровое время отказ грозил судом и лагерями.

В состав группы, переведенной из Лаборатории «В», входил инженер Леонид Петрович Зиновьев. Он, как и другие члены ускорительной группы, в лаборатории Лейпунского сначала занимался разработкой отдельных узлов, необходимых для модели будущего ускорителя, в частности ионного источника и высоковольтных импульсных схем для питания инжектора. Лейпунский сразу обратил внимание на грамотного и творческого инженера. По его указанию Зиновьева первым привлекли к созданию опытной установки, в которой можно было смоделировать весь процесс ускорения протонов. Тогда никто не мог предположить, что, став одним из первопроходцев в работе по воплощению идеи синхрофазотрона в жизнь, Зиновьев окажется единственным человеком, который пройдет все этапы его создания и совершенствования. И не просто пройдет, а возглавит их.
Теоретические и экспериментальные результаты, полученные в Лаборатории «В», были использованы в ФИАНе при проектировании синхрофазотрона на 10 ГэВ. Однако повышение энергии ускорителя до этой величины потребовало значительных доработок. Трудности его создания в очень большой степени усугублялись тем, что в то время во всём мире отсутствовал опыт сооружения столь больших установок.
Под руководством теоретиков М.С. Рабиновича и А.А. Коломенского в ФИАНе сделали физическое обоснование технического проекта. Основные составляющие синхрофазотрона разработали московский Радиотехнический институт АН и ленинградский НИИ под руководством их директоров А.Л. Минца и Е.Г. Комара.
Для получения необходимого опыта решили построить модель синхрофазотрона на энергию 180 МэВ. Ее расположили на территории ФИАНа в специальном здании, которое из соображений секретности назвали складом № 2. В начале 1951 года все работы по модели, включая монтаж оборудования, наладку и комплексный ее пуск, Векслер возложил на Зиновьева.

Фиановская модель отнюдь не была малюткой — ее магнит диаметром 4 метра весил 290 тонн. Впоследствии Зиновьев вспоминал, что, когда собрали модель в соответствии с первыми расчетами и попытались ее пустить, поначалу ничто не работало. Пришлось преодолеть множество непредвиденных технических трудностей, прежде чем модель запустили. Когда в 1953 году это произошло, Векслер сказал: «Ну всё! Иваньковский синхрофазотрон работать будет!» Речь шла о большом синхрофазотроне на 10 ГэВ, который уже начали сооружать в 1951 году в Калининской области. Строительство осуществляла организация под кодовым названием ТДС—533 (Техническая дирекция строительства 533).
Незадолго до пуска модели в одном американском журнале неожиданно появилось сообщение о новой конструкции магнитной системы ускорителя, названной жесткофокусирующей. Она выполняется в виде набора чередующихся секций с противоположно направленными градиентами магнитного поля. Это значительно уменьшает амплитуду колебаний ускоряемых частиц, что в свою очередь позволяет значительно уменьшить сечение вакуумной камеры. В результате экономится большое количество железа, идущего на постройку магнита. К примеру, ускоритель в Женеве на энергию 30 ГэВ, основанный на жесткой фокусировке, имеет втрое большую энергию и втрое большую длину окружности, чем дубненский синхрофазотрон, а его магнит в десять раз легче.

Конструкцию магнитов жесткой фокусировки предложили и разработали американские ученые Курант, Ливингстон и Снайдер в 1952 году. За несколько лет до них то же самое придумал, но не опубликовал Кристофилос.
Зиновьев сразу оценил открытие американцев и предложил перепроектировать дубненский синхрофазотрон. Но для этого пришлось бы поступиться временем. Векслер сказал тогда: «Нет, хоть на один день, но мы должны оказаться впереди американцев». Вероятно, в условиях «холодной войны» он был прав — «коней на переправе не меняют». И большой ускоритель продолжили строить по ранее разработанному проекту. В 1953 году на базе строящегося синхрофазотрона создали Электрофизическую лабораторию АН СССР (ЭФЛАН). Ее директором назначили В.И. Векслера.
В 1956 году ИЯП и ЭФЛАН составили основу созданного Объединенного института ядерных исследований (ОИЯИ). Место его расположения стало называться городом Дубна. К тому моменту энергия протонов на синхроциклотроне составляла 680 МэВ, а строительство синхрофазотрона завершалось. С первых дней образования ОИЯИ стилизованный рисунок здания синхрофазотрона (автор В.П. Бочкарев) стал его официальным символом.
Модель помогла в решении ряда вопросов для ускорителя на 10 ГэВ, однако конструкция многих узлов из-за большой разницы в размерах претерпела значительные изменения. Средний диаметр электромагнита синхрофазотрона составил 60 метров, а вес — 36 тысяч тонн (по своим параметрам он до сих пор остается в Книге рекордов Гиннесса). Возник целый комплекс новых сложных инженерных задач, которые коллектив успешно решил.
Наконец всё было готово для комплексного пуска ускорителя. По распоряжению Векслера им руководил Л.П. Зиновьев. Работы начались в конце декабря 1956 года, обстановка сложилась напряженная, и Владимир Иосифович не щадил ни себя, ни сотрудников. Нередко оставались ночевать на раскладушках прямо в огромном пультовом зале установки. По воспоминаниям А.А. Коломенского, большую часть своей неистощимой энергии в то время Векслер тратил на «выколачивание» помощи из внешних организаций и на проведение в жизнь дельных предложений, во многом исходивших от Зиновьева. Векслер высоко ценил его экспериментаторскую интуицию, которая сыграла решающую роль и в пуске ускорителя-гиганта.

Очень долго не могли получить бетатронный режим, без которого пуск невозможен. И именно Зиновьев в ответственный момент понял, что надо сделать, чтобы вдохнуть жизнь в синхрофазотрон. Эксперимент, к которому готовились две недели, к всеобщей радости, наконец-то увенчался успехом. 15 марта 1957 года дубненский синхрофазотрон заработал, о чем всему миру сообщила газета «Правда» 11 апреля 1957 года (статья В.И. Векслера). Интересно, что это известие появилось, лишь когда энергия ускорителя, постепенно поднимаемая со дня пуска, превысила энергию 6,3 ГэВ лидирующего в то время американского синхрофазотрона в Беркли. «Есть 8,3 миллиарда электронвольт!» — сообщала газета, извещая, что в Советском Союзе создан рекордный ускоритель. Сбылась заветная мечта Векслера!
16 апреля энергия протонов достигла проектной величины 10 ГэВ, но в эксплуатацию ускоритель был сдан только несколько месяцев спустя, так как оставалось еще достаточно нерешенных технических задач. И всё же основное было позади — синхрофазотрон заработал.
Об этом Векслер доложил на второй сессии ученого совета Объединенного института в мае 1957 года. Тогда же директор института Д.И. Блохинцев отметил, что, во-первых, модель синхрофазотрона создали за полтора года, в то время как в Америке на это ушло около двух лет. Во-вторых, сам синхрофазотрон удалось пустить за три месяца, уложившись в график, хотя поначалу это казалось нереальным. Именно пуск синхрофазотрона принес Дубне первую всемирную славу.
На третьей сессии ученого совета института член-корреспондент АН В.П. Джелепов отметил, что «Зиновьев был во всех отношениях душой запуска и внес в это дело колоссальное количество энергии и усилий, именно творческих усилий в ходе наладки машины». А Д.И. Блохинцев добавил, что «Зиновьев фактически вынес на себе огромный труд комплексной наладки».
Созданием синхрофазотрона занимались тысячи людей, но Леониду Петровичу Зиновьеву в этом принадлежала особая роль. Векслер писал: «Успех запуска синхрофазотрона и возможность начала проведения широкого фронта физических работ на нем в значительной степени связаны с участием в этих работах Л.П. Зиновьева».
Зиновьев собирался после пуска ускорителя вернуться в ФИАН. Однако Векслер упросил его остаться, считая, что больше никому не мог бы доверить руководство синхрофазотроном. Зиновьев согласился и руководил работой ускорителя более тридцати лет. Под его руководством и при непосредственном участии ускоритель постоянно совершенствовали. Зиновьев любил синхрофазотрон и очень тонко чувствовал дыхание этого железного исполина. По его словам, не было ни одной, даже мало-мальской детали ускорителя, которую бы он не потрогал и назначения которой не знал бы.
В октябре 1957 года на расширенном заседании ученого совета Курчатовского института под председательством самого Игоря Васильевича семнадцать человек из разных организаций, которые участвовали в создании синхрофазотрона, были выдвинуты на самую престижную в то время в Советском Союзе Ленинскую премию. Но по условиям число лауреатов не могло превышать двенадцати человек. В апреле 1959 года премии были удостоены директор Лаборатории высоких энергий ОИЯИ В.И. Векслер, начальник отдела той же лаборатории Л.П. Зиновьев, заместитель начальника Главного управления по использованию атомной энергии при Совете министров СССР Д.В. Ефремов, директор ленинградского НИИ Е.Г. Комар и его сотрудники Н. А. Моносзон, А.М. Столов, директор московского Радиотехнического института АН СССР А.Л. Минц, сотрудники того же института Ф.А. Водопьянов, С.М. Рубчинский, сотрудники ФИАНа А.А. Коломенский, В.А. Петухов, М.С. Рабинович. Векслер и Зиновьев стали почетными гражданами Дубны.
Синхрофазотрон оставался в строю сорок пять лет. За это время на нем сделали целый ряд открытий. Модель синхрофазотрона в 1960 году переделали в ускоритель электронов, до сих пор работающий в ФИАНе.
Литература:
Коломенский А. А., Лебедев А. Н. Теория циклических ускорителей. — М., 1962.
Комар Е. Г. Ускорители заряженных частиц. — М., 1964.
Ливингуд Дж. Принципы работы циклических ускорителей — М., 1963.
Оганесян Ю. Как создавался циклотрон / Наука и жизнь, 1980 № 4, с. 73.
Хилл Р. По следам частиц — М., 1963.