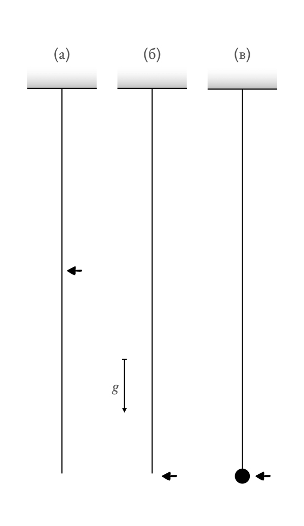
Один из концов каната закреплен на потолке, а второй свободно висит. Если канат резко отклонить от вертикали (например, ударить палкой) в какой-нибудь точке, то по нему побежит волна.
Опишите, как она будет двигаться для трех случаев, изображенных на рис. 1: (а) — волна стартует из середины каната, (б) — волна стартует от нижнего конца каната, (в) — волна стартует от нижнего конца каната, на котором закреплен груз массой \(m\).
Какого из концов каната быстрее достигнет волна в пункте (а)? Какая из волн быстрее добежит до верхнего конца каната — из пункта (б) или из пункта (в)?
Подумайте, что будет, если этот эксперимент повторить в условиях невесомости? Какая сила восстанавливает «деформированный» канат, заставляя волну распространяться?
Вспомните, что скорость звука в газе равна примерно \(\sqrt{P/\rho}\) (где \(P\) и \(\rho\) — давление и плотность), а в твердых телах — \(\sqrt{Y/\rho}\) (где вместо давления стоит модуль Юнга \(Y\)). Рассуждая аналогично, можно построить выражение для скорости волны на канате. Для простоты можно воспользоваться анализом размерностей.
Волны в физике — это всегда результат баланса между натуральным стремлением систем продолжать свое движение («инерции»), и некоторой силы, противодействующей деформации. В газах и твердых телах инерция определяется плотностью тела. В газах деформации (сжатию некоторых областей) противодействует давление, в твердых телах — действие электромагнитных сил между различными частицами в структуре решетки этого тела (обычно, это сопротивление характеризуется модулем Юнга \(Y\), имеющим размерность давления). Поэтому скорость звука в газах и твердых телах достаточно точно можно оценить с помощью выражений, приведенных в подсказке.
В плазме, помещенной в однородное магнитное поле, тоже существуют своего рода звуковые волны. Если это однородное поле немного возмутить (это нужно делать достаточно медленно, чтобы плазма «успевала» отреагировать и поддерживать квазинейтральность), то можно запустить волну (подобную волне на канате). Это возмущение, которое называется альфвеновской волной, влияет только на магнитное поле — плотность плазмы остается постоянной. В данном случае «восстанавливающей» силой является сила магнитного натяжения: по сути, это «нежелание» магнитного поля деформироваться. Величину этой силы можно охарактеризовать с помощью магнитного давления \(B^2/(8\pi)\). Если пытаться найти скорость этой волны \(v_A\) по описанной выше логике, то получится: \(v_A\sim \sqrt{B^2 / \rho}\) (где \(\rho\) — плотность плазмы). Более точный вывод дает ответ \(v_A=\sqrt{B^2/(4\pi\rho)}\).
Вернемся к нашей задаче. В первую очередь заметим, что так как канат можно считать одномерным, то вместо плотности инерцию будет характеризовать линейная плотность, то есть масса на единицу длины. Обозначим ее \(\kappa\). Сила, стремящаяся восстановить возмущение каната, — ничто иное, как сила натяжения каната под собственной тяжестью (\(T\)). Поэтому (и в этом можно убедиться из анализа размерностей) в любой точке каната скорость волны определяется формулой
\[ v\approx\sqrt{\frac{T}{\kappa}}. \]Величину \(\kappa\) можно считать примерно постоянной вдоль каната. А вот значение натяжения \(T\), очевидно, равно нулю в нижней точке каната (если нет дополнительного веса) и растет при движении вверх по канату. Натяжение в произвольной точке каната можно выразить так: \(T = \kappa z g\), где \(z\) — расстояние до нижнего конца (и поэтому \(\kappa z\) — масса каната на этом отрезке). Значит, в пунктах (а) и (б) скорость волны такова:
\[v\approx\sqrt{zg}.\]
Рис. 2.
Если на нижнем конце каната закреплен груз (как в пункте (в)), то получим, что \(T=(\kappa z + m)g\), а скорость волны выражается так:
\[ v\approx \sqrt{\left(z+\frac{m}{\kappa}\right)g}. \]Из этих двух формул видно, что скорость волны тем больше, чем ближе волна к потолку.
Теперь на вопросы задачи уже можно дать качественные ответы. В пункте (а) у волны, бегущей вверх, средняя скорость выше, чем у волны, бегущей вниз. Поэтому первой до края добежит волна, бегущая к потолку. Средняя скорость волны в пункте (в) выше чем в пункте (б) (из-за \(m\) в формуле для скорости). Поэтому волна в пункте (в) добежит до потолка быстрее, чем волна в пункте (б) (см. анимации на рис. 2 и 3).

Рис. 3.
Но как описать движение волны более точно? Уравнение движения волны можно записать так:
\[ v_z = \frac{dz}{dt}=\pm \sqrt{\left(z+\frac{m}{\kappa}\right)g}, \]где \(z\) отсчитывается от нижнего конца каната. Положительные и отрицательные значения скорости соответствуют движению вверх и вниз. Получилось дифференциальное уравнение относительно неизвестной функции \(z(t)\). Вместо того, чтобы решать его «в лоб», сначала найдем ускорение волны, то есть вторую производную \(z''(t)\):
\[ z''(t)=\pm\frac{g z'(t)}{2\sqrt{\left(z+\frac{m}{\kappa}\right) g}} = \frac{g}{2}. \]В последнем равенстве мы воспользовались тем, выражение в знаменателе можно заменить на \(z'(t)\) благодаря предыдущему уравнению. Получаем, что волна движется равноускоренно — с ускорением \(g/2\), направленным вверх. Начальную скорость волны в момент ее возмущения можно найти, просто взяв исходную высоту \(z(t=0) = z_0\). Таким образом, используя «школьную» формулу для равноускоренного движения \(x(t) = x_0 + v_0 t + a t^2 / 2\), найдем решение дифференциального уравнения, которое описывает вертикальное положение волны от времени:
\[ z(t)=z_0 \pm t\sqrt{\left(z_0+\frac{m}{\kappa}\right)g}+\frac{1}{4}gt^2, \]где \(\pm\) соответствует движению волны вверх или вниз, а \(z\) отсчитывается от нижнего конца.
Из этой формулы следует, что, вопреки интуиции, волна, движущаяся вверх по подвешенному канату, ускоряется, а волна, движущаяся вниз, наоборот — замедляется.

Рис. 4.
В решении задачи не были учтены важные свойства волны — размер, амплитуда и т. д. Да и вообще, строго говоря, в физике такой единичный импульс называется не волной, а волновым пакетом, и его скорость отнюдь не всегда равна скорости звука. Давайте в этом аккуратно разберемся.
Формально волны, которые обычно рассматриваются в физических задачах, имеют бесконечный размер. Их часто называют «плоскими волнами». Такие волны описываются выражением \(\sin{\left(\omega t — 2\pi x/\lambda\right)}\), где \(x\) — координата вдоль направления движения волны, \(t\) — время, а \(\omega\) и \(\lambda\) — частота и длина волны.
Найти скорость такой волны достаточно просто. Можно, например, взять фиксированное значение \(x = x_0\), при котором волна находится в максимуме, и посчитать, через какой кратчайший промежуток времени \(\Delta t\) волна снова будет в максимуме в точке \(x_0\). Из этого можно легко получить, что скорость волны равна \(v = \omega \lambda/(2\pi)\). Комбинацию \(2\pi / \lambda\) принято называть волновым числом и обозначать буквой \(k\). То есть скорость такой бесконечной волны равна \(v = \omega / k\). Если частота волны \(\omega\) не зависит от волнового вектора \(k\), это выражение задает одинаковую скорость волн для любых частот.
Однако в природе обычно встречаются не бесконечные волны, а, например, ограниченные в размере импульсы (как в задаче). Как описать их движение? В таких случаях на помощь приходит мощный математический аппарат, — а именно преобразование Фурье. Дело в том, что любой сигнал можно разложить на сумму синусоидальных сигналов (по сути, плоских волн) с различными частотами и амплитудами. К примеру, в тривиальном случае синусоидального сигнала \(\sin{k_0 x}\) преобразование Фурье даст лишь из одну гармонику с волновым числом \(k=k_0\). В случае с пилообразным сигналом \(k_0 x- \lfloor k_0 x\rfloor\) потребуется добавить бесконечное число гармоник с волновыми числами \(k_n = k_0 / n\) и амплитудами \(a_n = 1/n\). Сумма первых 40 гармоник показана на рис. 5 красным.

Рис. 5.
Но как это поможет в анализе волновых процессов? Оказывается, точно таким же образом можно преобразовать наш изолированный сигнал, разложив его на сумму бесконечного числа плоских волн. С пилообразным сигналом нам повезло, так как этот сигнал периодический и все нужные моды были дискретными: \(k_n = k_0 / n\). В общем же случае, когда сигнал не периодический, Фурье-гармоники \(k\), которые нужно просуммировать, чтобы получить искомый сигнал, непрерывны (по сути, сумма по \(n\) заменяется на интеграл по \(k\)).

Рис. 6.
Разложив сигнал на бесконечное число плоских волн, мы, на самом деле, упростили себе задачу, поскольку каждую из этих волн можно рассматривать независимо от других! Так как мы знаем скорости каждой из этих волн, мы можем найти и «суммарную» эффективную скорость нашего сигнала. В данном случае скорости всех отдельных волн одинаковы — \(\omega\) линейна по \(|k|\), и поэтому скорость \(v=\omega/k\) одинакова для всех волн. Значит, и скорость искомого сигнала равна \(\omega/k\).
Однако предположение, что частота волны \(\omega\) линейна по \(|k|\), не всегда верно. Если эта зависимость есть, то скорости каждой из гармоник отличаются от эффективной скорости суммарного сигнала. Среды, в которых это происходит, называются дисперсионными, а связь между \(\omega\) и \(k\) называется дисперсионным соотношением. Самым простым примером такой среды является обычное стекло. Коэффициент преломления стекла (отношение реальной скорости света к скорости света в вакууме) зависит от длины электромагнитной волны (света) и, как результат, частота будет зависеть от волнового вектора.
Не будем вдаваться в математические детали, но можно показать, что для дисперсионных сред скорость произвольного сигнала определяется производной: \(v = d\omega/dk\). Эту величину обычно называют групповой скоростью — она, по сути, задает суммарную скорость группы различных плоских волн (Фурье-гармоник нашего сигнала). С другой стороны, скорость \(\omega/k\) называют фазовой скоростью, так как она соответствует скорости распространения фазы одной из Фурье-гармоник.

Рис. 7.
Как показано на рис. 7 и 8, результатом различия скоростей для разных частот является не только отличие групповой и фазовой скоростей, но и то, что результирующий сигнал «расширяется» со временем. Темп такого расширения определяется второй производной \(d^2\omega/dk^2\).

Рис. 8.
Фазовая скорость того или иного сигнала может быть произвольно большой (в частности, в редких дисперсионных средах она может превышать \(c\)). А вот групповая скорость обязана всегда быть строго меньше \(c\). Связано это с тем, что плоская волна, в некотором смысле, не переносит никакой информации: у плоской волны бесконечный размер. Представьте, что вы отправляете электромагнитный импульс на Луну, «моргнув» на короткий промежуток времени лазером. По сути, вы генерируете импульс конечного размера, который будет распространяться с групповой скоростью, начиная с момента нажатия кнопки на лазере. Однако бесконечно протяженные плоские волны, из которых этот сигнал состоит, «возникнут» сразу после нажатия. Иными словами, фазовая скорость и разложение на плоские волны — это (не обязанный подчиняться физике) математический артефакт нашего описания настоящих физических сигналов, которые конечно же подчиняются физическим законам.
Несмотря на «математичность» преобразования Фурье, из его чисто математических свойств следуют вполне физические результаты. К примеру, возьмем некоторый сигнал, интенсивность которого зависит от координаты \(x\) по некоторому закону \(f(x)\) (рис. 9, слева). Как уже было отмечено выше, для разложения такого сигнала на плоские волны потребуется просуммировать бесконечное число волн с волновыми векторами \(k\) (или длинами волн \(\lambda = 2\pi/k\)), каждая из которых будет иметь некоторую амплитуду \(\tilde{f}(k)\). Так как сигнал непериодический, \(k\) меняется непрерывно, и можно нарисовать график зависимости амплитуд \(\tilde{f}(k)\) от \(k\) (рис. 9, справа).
Можно заметить очень интересную вещь: чем более «локализованным» становится сигнал в пространстве (чем уже функция \(f(x)\)), тем шире график функции \(\tilde{f}(k)\) (тем большее число амплитуд требуется просуммировать). Если обозначить характерную ширину сигнала за \(\Delta x\), а ширину его Фурье-прообраза за \(\Delta k\), то можно строго показать, что \(\Delta k\Delta x\ge 1/2\) для произвольного локализованного сигнала.
Для короткого лазерного импульса, распространяющегося в плазме, это означает, что чем импульс короче, тем быстрее он будет «расширяться» (тем больше различных гармоник, у которых разные скорости распространения, нужно суммировать).
Однако из этого отношения следует еще одно фундаментальное утверждение: частицы в рамках квантовой механики можно представить как волновые пакеты. Взяв \(p=\hbar k\) (это также называется волной де Бройля), можно показать, что \(\Delta p \Delta x \ge \hbar/2\). В квантовой механике это соотношение называется принципом неопределенности Гейзенберга. Этот сугубо физический принцип является простым следствием волновой интерпретации элементарных частиц.
В качестве интересного упражнения можно даже получить дисперсионное отношение для электрона из выражения \(E=p^2/(2m)\), где \(m\), \(p\) и \(E\) — это масса, импульс и энергия электрона, соответственно. Взяв \(E=\hbar \omega\), получим: \(\omega = \hbar k^2/(2m)\). Отсюда можно получить, что групповая скорость электрона вдвое больше фазовой и равна, как ни странно, \(v=p/m\).
В конце абзаца после рис 6 и в начале следующего наверное имелось в виду не "w не зависит от k", а "w линейна по |k|".Это правда. omega/k не зависит от k. Нужно в тексте поправить, спасибо за замечание.
Вот тут есть прикольное академическое обсуждение этого:Похоже на "квантовое запутывание". Ничего не сказано о том, что принцип Гюйгенса, для фазовой скорости, позволяет получить принцин гаименьшего действия для групповой.
Ну вы чего, всё у неё в порядке с потенциальной энергией)Хорошо, когда все в порядке. с пониманием. Завидую, и прошу ответить на вопросы:
потенциальный просто игноримКрайне легкомысленный подход к проблеме и к закону сохранения энергии :)
"режим: скакалка", там практический вся энергия всегда в кинетической, но и чем это подозрительно я не вижу...Если вся энергия всегла в кинетической, то возникает аномалия. Автор привел пример, когда энергия покоя электрона игнорируется. В таком случае, групповая скорость становится больше фазовой.
1) абсолютно нерастяжимая ослабленная веревка - это не гладенький минимум мягкой системы, это настолько нелинейная система насколько возможноНикто не говорил, что будет легко.
чуть провисающая горизонтальная нить, у которой возвращающая сила - опять же тяжесть, и от неё соответственно потенциальная энергияНаши опыты с веревкой можно проводить в невесомости. Поэтому попытка ввести потенциальную энергию через гравитацию не засчитывается
Её можно перестать крутить, для начала. Потом, в собственных состояниях (в степенном потенциале) соотношение средней потенциальной и кинетической энергий одно и то жеСлучай с веревкой особый. Посмотрите на фото к статье. У девушек недостаточно сил, чтобы растянуть канат как пружину. Поэтому энергией деформации каната можно пренебречь. Девушки вынуждены давать канату слабину для возбуждения волны.
Как я уже говорил, в такой постановке энергия только кинетическая,
всего лишь артефакт идеализированной бесконечной жёсткостиА что нам мешает поставить в уравнение движения реальную жесткость каната? Дополнительная ничтожная энергия деформации что-то существенно изменит?
Если вас интересует какое-то противоречие, напишите, пожалуйста, ясно, в чём вы его видитеНаша дискуссия подтверждает, что существует противоречие между школьными представлениями о волне и объективной реальностью.
В основном физические волны не переносят материю,
Групповая скорость характеризует скорость движения сгустка энергии, переносимой волновым пакетом, и потому в большинстве случаев не превышает скорость света. Также при распространении волны в метастабильной среде удаётся в определённых случаях добиться групповой скорости, превышающей скорость света в среде, как например при распространении света в сероуглероде.
При этом скорость передачи информации никогда не может превышать скорости света в вакууме, что было подтверждено экспериментально даже для волн, в которых групповая скорость превышает скорость света в среде распространения.
1) Устремляя жёсткость к бесконечности мы устремляем скорость проблемных колебаний к бесконечности.Веревка оказалась слишкои сложна для понимания :(
2) В чём вы видите противоречие мне понятней не сталоСочетание простой формы веревки с невообразимой сложностью ее колебаний, недоступной пониманию.
В статье задачу вроде достаточно школьно разобрали, получили результат, рамки применимости которого захватывают ситуации из условия.Согласен. В линейном приближении (для слабых волн) фазовая скорость равна квадратному корню от силы натяжения, деленной на погонную массу.




Рис. 1.