
Группа физиков из России и Великобритании предложила теорию, объясняющую принцип работы «жидкого пленочного двигателя», о котором писали «Элементы». Причиной того, что под действием приложенного напряжения и внешнего электрического поля, величины которых превышают некоторое пороговые значения, пленка жидкости начинает вращаться, является не переориентация дипольных моментов молекул полярной жидкости, как это было высказано ранее, а скачок напряженности электрического поля на границе воды и стенок контейнера, в котором находится пленка. Это приводит к появлению тангенциальной скорости жидкости на краях пленки и последующему образованию в ней вихревого течения.
Около года назад «Элементы» сообщали о проведенном иранскими учеными интересном эксперименте по вращению жидкости в тонкой пленке воды под действием приложенного к ней напряжения и внешнего электрического поля (см. Создан жидкий «пленочный двигатель», «Элементы», 21.05.2008, см. также галерею видеофрагментов на сайте Тегеранского технологического университета «Шариф»). Тогда в статье иранских ученых A Liquid film motor не было дано объяснения этому любопытному эффекту — была лишь выдвинута эвристическая идея о том, что данное явление связано с переключениями в ориентации молекулярных диполей в сильно полярных жидкостях, к каким относится вода. Иными словами, под совместным действием напряжения на электродах и внешнего электрического поля дипольные моменты молекул воды меняют свое направление, что приводит к образованию макроскопических вихрей в пленке и вращению жидкости.
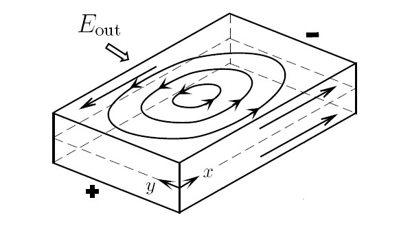
Теперь выяснилось, что объяснение принципа работы жидкого «пленочного двигателя» находится исключительно в классической плоскости, и микроскопические эффекты здесь совершенно ни при чем. А вращение воды в пленке связано со скачком напряженности электрического поля на границе воды и стенок контейнера, в котором находится пленка. Этот скачок приводит к возникновению тангенциальной (направленной параллельно краям пленки) скорости жидкости на краях пленки и последующему образованию в ней вихревого течения (рис. 1, подробности см. ниже). К такому выводу пришли российские физики-теоретики и их английский коллега. Их статья Rotating Electrohydrodynamic Flow in a Suspended Liquid Film принята к публикации в журнале Physics Review E, а сама работа доступна в архиве электронных препринтов.
Объяснение этого явления было получено учеными в процессе решения электрогидродинамических уравнений Навье-Стокса. Выяснилось, что помимо внешних условий очень важна также и геометрия задачи. Как показали авторы, пленка должна быть не слишком толстой, но и не слишком тонкой. Лишь «балансируя» между некоторыми значениями толщины при решении уравнений можно получить описанную выше динамическую картину. Иными словами, авторы рассматривали пленку как квазитрехмерную систему, то есть систему, у которой один из геометрических параметров (толщина) мал, но пренебрегать им до конца при решении задачи нельзя. По сути, такое условное пренебрежение толщиной и приводит к «возникновению» жидкого пленочного двигателя.
К сожалению, на численное значение толщины пленки иранские экспериментаторы не обратили внимания, в их работе она просто не измерялась. Это затрудняло количественное сравнение теории с экспериментом. Тем не менее удалось рассчитать, что скорость вращения жидкости пропорциональна 4-й степени толщины пленки. Так, например, экспериментально наблюдаемая скорость вращения вихря в квадратной пленке, равная приблизительно 1 см/с, получается при следующих параметрах: напряженность электрического поля составляет 30 кВ/м, разность потенциалов равна 20 В, при этом характерный размер пленки (ее сторона) около 1 см. Вращение с такой скоростью будет происходить, если толщина пленки составляет 1–3 мм.
Если пленка окажется более тонкой или более толстой, то эффект практически исчезнет. Когда значение толщины становится очень малым, то возведение в 4-ю степень малого числа делает скорость вращения ничтожной, и жидкий пленочный двигатель перестает работать. Однако предположение, что, утолщая пленку, можно повысить эффективность работы двигателя, будет неправильным. Увеличение толщины пленки существенно меняет условия, при которых решаются электрогидродинамические уравнения: в этом случае пленку уже нельзя рассматривать как квазитрехмерную структуру. Вот почему толщина пленки так важна.
Вообще говоря, было экспериментально установлено, что вся система чрезвычайно чувствительна к изменению внешних параметров. Речь идет уже не только о толщине пленки, но и о внешнем электрическом поле, а также разности потенциалов, приложенных к электродам. Иранские физики показали, что вращение воды в пленке происходит лишь тогда, когда значение электрического поля и напряжения на электродах превосходит некоторые пороговые значения и что произведение этих пороговых величин — константа. Российские теоретики подтверждают, что течение жидкости начинается, когда разность потенциалов и напряженность превышают некоторые значения, но утверждение о том, что произведение этих значений дает константу, они считают неверным. По их мнению, начало вращения жидкости определяется не только электрическим полем и напряжением на электродах, но и размерами (длиной и шириной) контейнера, в котором находится пленка.
Поскольку, как уже было сказано, количественно судить о согласии теоретических и экспериментальных данных затруднительно ввиду отсутствия значений толщины пленки, авторы приводят качественную картину поведения жидкого пленочного двигателя, то есть описывают, каким образом происходит эволюция вращения воды в пленке.
Итак, под действием приложенного поля и разности потенциалов вблизи электродов жидкость получает тангенциальную скорость. Это в свою очередь приводит к образованию двух вихрей (рис. 2).

Эти вихри за довольно короткий промежуток времени (около 2 с) вовлекают в течение остальную жидкость, увеличиваются в размерах и сливаются в одну устойчивую вихревую структуру. Такое быстрое образование стабильного вихря позволяет заодно объяснить, почему вода при изменении внешних условий быстро меняет направление своего движения. Связано это с тем, что 2 секунды — очень маленький промежуток времени для образования устойчивого вращения: система безболезненно успевает переключиться на другое направление течения.
Однако вспомним, что в некоторых экспериментах иранских ученых, когда пленка была не квадратной, а прямоугольной (с отношением сторон 1 : 2), наблюдалось двухвихревое вращение воды. Теория утверждает, что в любом случае, вне зависимости от геометрии пленки, на начальном этапе рождаются два вихря. Значит, как считают российские авторы, иранские ученые успели заметить и наблюдали как раз этот начальный этап — тем более что в эксперименте не сообщается о дальнейшей судьбе этих двух вихрей, то есть нет данных, что такое течение является стабильным.
В качественной картине поведения жидкого «пленочного» двигателя есть еще два разногласия теории с экспериментом. Первое. Согласно теоретической модели, скорость вращения вихря должна убывать по мере приближения к его центру или центру пленки, в то время как в экспериментах наблюдается прямо противоположная ситуация. Интересно, что именно по этой причине иранские ученые в качестве возможного объяснения отбрасывали краевые эффекты (которые, как теперь выяснилось, и были причиной вращения).
Скорее всего, считают авторы теоретической работы, это связано, во-первых, с упрощением их теоретической модели (пленка рассматривалась не как истинно трехмерная система, а как квазитрехмерная, с последующим «усреднением» течения жидкости по толщине), во-вторых, не происходил учет поверхностного натяжения воды и в-третьих, за счет электрического нагрева пленки появляется температурный градиент диэлектрической проницаемости, а это приводит появлению так называемой пондеромоторной силы — нелинейной силы, возникающей за счет неоднородности в распределении электрического поля в «пленочном двигателе». Уточним еще раз, что эта неоднородность является результатом неравномерности диэлектрической проницаемости воды в пленке. Следовательно, в электрогидродинамических уравнениях необходимо «дописать» еще пондеромоторную силу.
Второе несогласие теории с экспериментом выражается в том, что при изменении вязкости воды (путем добавления в нее глицерина) скорость вращения вихря в эксперименте не менялась. В теоретических изысканиях российских физиков это совсем не так. Данное противоречие легко объясняется. Дело в том, что скорость течения воды в пленке не только пропорциональна 4-й степени толщины пленки, но еще и обратно пропорциональна 3-й степени вязкости. И вязкость воды, и толщина в теории имеют одинаковый порядок малости, но более высокая степень, в которую возводят толщину пленки, как бы нивелирует вклад вязкости жидкости, и экспериментаторам кажется, что вязкость не играет никакой роли. Проще говоря, скорость вращения вихря зависит от вязкости, но в эксперименте для фиксирования данного факта просто не хватило точности измерительного оборудования.
Таким образом, предложенная российскими теоретиками модель вполне правдоподобно описывает жидкий пленочный двигатель, однако всё-таки остаются некоторые расхождения, нуждающиеся в устранении. Впрочем, авторы статьи честно об этом и говорят, подчеркивая, что их теория является асимптотической и лишь описывает течение жидкости на краях пленки. Учет абсолютно всех эффектов представляется сложной задачей и требует более серьезного подхода.
Источник: E. V. Shiryaeva, M. Yu. Zhukov, V. A. Vladimirov. Rotating electrohydrodynamic flow in a suspended liquid film // arXiv:0902.3733.
Юрий Ерин



